Книга: Радиосхемы (ламповые). Пособие для радиокружков

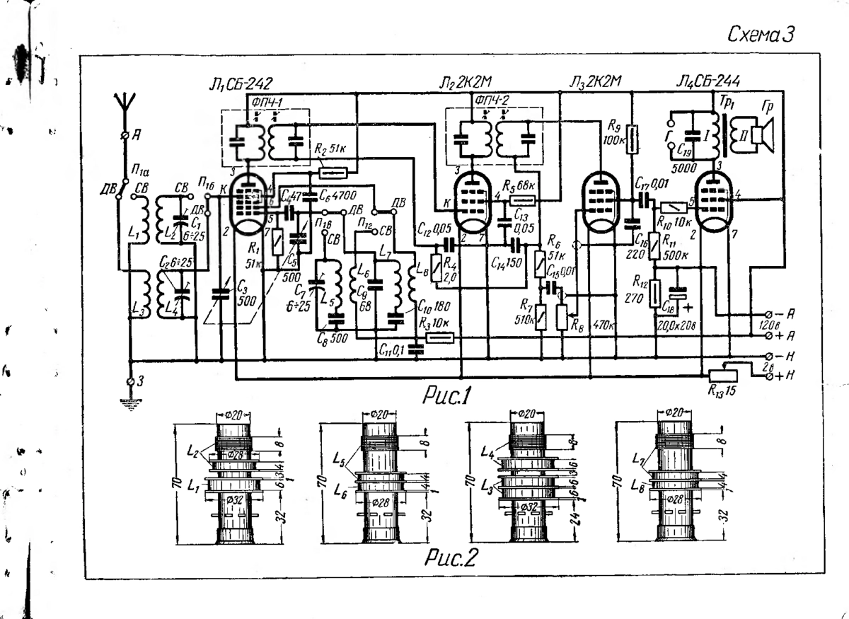
…Переносный радиоприемник собран по схеме прямого усиления 1-V-1 и позволяет принимать на телефоны как местные, так и дальние вещательные радиостанции, работающие в диапазоне средних (200—500 м) и длинных (770—2 000 м) волн. Приемник отличается сравнительно небольшими габаритами и экономичностью. Он питается от одной батарейки для карманного фонаря и потребляет ток всего 80—100 ма. Он содержит усилитель высокой частоты (ВЧ), сеточный детектор, усилитель низкой частоты (НЧ) и преобразователь напряжения… 31 радиосхема. Пособие для радиокружков. Разделы: приемники на транзисторах, ламповые приемники, усилитель низкой частоты, измерительная аппаратура, различная аппаратура…

Информация о документе

Формат документа
PDF, DJVU
Кол-во страниц
81 страница
Загрузил(а)
Лицензия
Доступ
Всем

Информация о книге

Издательство
ДОСААФ
Год публикации
1965
Автор(ы)
Матлин С. Л.
Ключевые фразы
радиосхемы, РАДИО

Статистика просмотров

Статистика просмотров книги за 2025 год.